RETZ进口品质 ANSI API 美标闸阀
简要描述:RETZ进口ASME、ANSI、API美标钢制闸阀启闭件闸板,闸板的运动方向与流体方向相垂直,闸阀只能作全开和全关,不能作调节和节流。闸阀通过阀座和闸板接触进行密封,通常密封面会堆焊金属材料以增加耐磨性,如堆焊1Cr13、STL6、不锈钢等
品牌:RETZ美国瑞茨
工况条件:开启/切断
温度/压力:P-T: 100bar@425℃
更新时间:2022/11/06
(ASME、ANSI、API )进口美标钢制闸阀将手轮向左旋转时,阀板会向上移动,此时流路开,反之将手轮向右移动时,阀板会向下移动,此时流路逐渐被关闭。
retz品牌 (ASME, ANSI, API) When the handwheel of American standard steel gate valve is rotated to the left, the valve plate will move upward, and the flow path will be opened at this time; otherwise, when the handwheel is moved to the right, the valve plate will move downward, and the flow path will be gradually closed
![]() | ![]() |
技术要求Applicable Standards
1.设计标准DesignRating∶API600,API 603,ASME B16.34; 
2.结构长度Face to Face∶ASME B16.10;
3.法兰标准Flanged Ends∶ASME B16.5;
4.检查和试验 Inspection & Testing∶API 598.
公称压力 Nominal pressure:CL150-600LB
适用温度 Applicable temperature:-29~425℃
规格尺寸 Size:1/2~20"
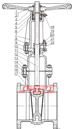
(ASME、ANSI、API )进口美标钢制闸阀主要零部件材料 Main parts and materials

No. | 零件名称PAPT NAME | 材质MATERIAL | |
1 | 圆螺母Round nut | 1025 | |
2 | 铭牌Nameplates | Al | |
3 | 手轮Handwheel | KTH330 | |
4 | 轴承压盖Bearing gtand | 1025 | |
5 | 轴承Bearing | GCr15 | |
6 | 阀杆螺母Stem nut | QT400/Brass | |
7 | 支架Stand | WCB | CF8/CF8M |
8 | 螺母Nut | 2H | 304 |
9 | 螺柱Stud | B7 | 304 |
10 | 填料Packing | Graphite | PTFE |
11 | 阀盖Bonnet | WCB | CF8/CF8M |
12 | 阀杆Stem | F6a | 304/316 |
13 | 螺母Nut | 2H | 304 |
14 | 密封垫Gasket | 304+Graphite | PTFE |
15 | 螺柱Stud | B7 | 304 |
16 | 阀体Body | WCB | CF8/CF8M |
17 | 阀板Disc | WCB | CF8/CF8M |
18 | 油杯Oil cup | CU | |
19 | 螺母Nut | 2H | 304 |
20 | 垫片Washer | 1020 | 304 |
21 | 填料压盖Gland | WCB | CF8 |
22 | 螺栓Screw | B7 | 304 |





在线客服