RETZ进口品质 Z1S叠加式单向阀
简要描述:RETZ(Z1S、Z2S)进口叠加式单向阀在一个方向上无泄漏地封闭.而在另一个方向上则允许自由流通
品牌:RETZ美国瑞茨
工况条件:单向
温度/压力:P-T: 315bar@60℃
更新时间:2022/12/09
Z1S…30系列叠加式单向阀 性能参数 Performance description
通径(NG)6至22, 压力至31.5MPa ,流量至400L/min Diameter (NG) 6 to 22, pressure to 31.5MPa, flow to 400L/min
叠加式结构,用于垂直叠加安装 Stacked structure for vertical stack installation

功能说明、剖面图 Function description and sectional drawing

Z1S型单向阀是叠加式结构的单向阀。此型阀主要包括阀体(1)和单向阀插装件(2)Z1S one-way valve is a one-way valve with a superimposed structure. This type of valve mainly includes valve body (1) and one-way valve insert (2)
单向阀在一个方向上无泄漏地封闭.而在另一个方向上则允许自由流通 The check valve is sealed without leakage in one direction and allows free flow in the other direction
内孔中锥阀(3)的行程受到弹簧座(4)的限制。内装弹簧(5)使锥阀(3)闭合并使其保持在闭合的位置上 The travel of the poppet (3) in the bore is limited by the spring seat (4). The built-in spring (5) closes the conical valve (3) and keeps it in the closed position
图形符号(①=阀侧;②=底板侧)

技术参数 technical parameter

性能曲线(在使用HLP46,t=40℃±5℃时测得)

Z2S6…6X系列叠加式液控单向阀 性能参数 Performance description
通径(NG)6 压力至31.5MPa 流量至60L/min Diameter (NG) 6, pressure to 31.5MPa, flow to 60L/min
叠加式结构
安装面按DIN24340 A型 、ISO 4401和CETOP RP121H
按要求一个或二个工作油口无泄漏密封
适用于叠加安装
三种不同开启压力
功能说明、剖面图 Function description and sectional drawing

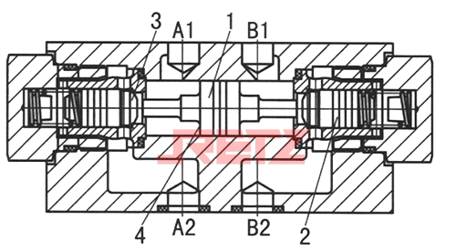
1活塞 2单向阀芯 3面积A1 4面积A2
Z2S6型单向阀是叠加式结构的液控单向阀。用于一个或二个工作油口无泄漏封闭。油液可以由A1至A2或由B1至B2自由流动.而反方向则封闭 Z2S6 one-way valve is a hydraulic control one-way valve with a superimposed structure. It is used for sealing one or two working oil ports without leakage. Fluid can flow freely from A1 to A2 or from B1 to B2. The opposite direction is closed
当油液由A1至A2流过时.活塞(1)受压面向右运动。将阀芯(2)推离其阀座 实现反向流动。使油液由B2流向B1 When the fluid flows from A1 to A2 The piston (1) is pressed and moves to the right. Push the valve element (2) away from its seat to realize reverse flow. Make the oil flow from B2 to B1
为确保阀正确关闭。在中位时方向阀工作油口必须通油箱卸载 为确保阀正确关闭。在中位时方向阀工作油口必须通油箱卸载
图形符号(①=阀侧;②=底板侧)

技术参数 technical parameter

性能曲线(在使用HLP46,t=40℃±5℃时测得)

=A1→A2; B1→B2
=A2→A1; B2→B1
1开启压力0.15MPa
2开启压力0.3MPa
3开启压力0.7MPa
4经过单向阀插件
5自由流动(无单向阀插件)“A”和“B”型
Z2S10...3X系列叠加式液控单向阀 性能参数 Performance description
通径(NG)10 ,压力至31.5MPa ,流量至120L/min Diameter (NG) 10, pressure to 31.5MPa, flow to 120L/min
连接尺寸按DIN24340
可以无泄漏封闭一个或二个工作油口
叠加式结构,适用于叠加安装
四种不同开启压力(可选)
典型回路

功能说明、剖面图 Function description and sectional drawing
Z2S10型单向阀是叠加式液控单向阀。它可以用于关闭一个或二个工作油口,无泄漏持续时间长,稳定性好。油液可以由A1至A2或B1至B2自由流动.而反方向则封闭 Z2S10 one-way valve is a superimposed hydraulic control one-way valve. It can be used to close one or two working oil ports, with long leak free duration and good stability. Fluid can flow freely from A1 to A2 or B1 to B2. The opposite direction is closed
当油液由A1至A2.压力油作用在阀芯(1)上.阀芯则向右运动并推动钢球(2)离开阀座。单向阀(3)被控制油打开时 油液可以从B2流向B1 压力油在B2腔卸荷 单向阀(3)全部打开 When the fluid is from A1 to A2, the pressure oil acts on the valve element (1) The valve core moves to the right and pushes the steel ball (2) away from the valve seat. When the check valve (3) is opened by the control oil, the oil can flow from B2 to B1. The pressure oil unloads the check valve (3) in the B2 chamber
为保证两个单向阀在换向中位时可靠的关闭,阀的A1 B1口与回油路连接 In order to ensure that the two check valves can be reliably closed when they are in the reverse position, the A1 B1 port of the valve is connected with the return oil circuit

Z2S10...3X/…叠加式液控单向阀 1阀芯 2钢球 3单向阀
图形符号(①=阀侧;②=底板侧)

技术参数 technical parameter

性能曲线(在使用HLP46,t=40℃±5℃时测得)

---A→A1; B→B1
---A1→A; B1→B
1开启压力0.15MPa
2开启压力0.3MPa
3开启压力0.6MPa
4开启压力1.0MPa
Z2S16...5X系列叠加式液控单向阀 性能参数 Performance description
通径(NG)16 ,压力至31.5MPa ,流量至300L/min Diameter (NG) 16, pressure to 31.5MPa, flow to 300L/min
连接尺寸按DIN24340
可以无泄漏封闭一个或二个工作油口
叠加式结构,适用于垂直叠装
四种不同开启压力(可选)
典型回路

功能说明、剖面图 Function description and sectional drawing
Z2S16型单向阀是叠加式液控单向阀。它可以用于关闭一个或二个工作油口 无泄漏持续时间长,稳定性好。油液可以由A1至A2或B1至B2自由流动.而反方向则封闭 Z2S16 one-way valve is a superimposed hydraulic control one-way valve. It can be used to close one or two working oil ports without leakage for a long time and has good stability. Fluid can flow freely from A1 to A2 or B1 to B2. The opposite direction is closed
当油液由A1至A2.压力油作用在阀芯(1)上.阀芯则向右运动并推动钢球(2)离开阀座。单向阀(3)被控制油打开时.油液可从B2流向B,压力油在B2腔卸荷 单向阀(3)全部打开 When the oil flows from A1 to A2, the pressure oil acts on the valve element (1). The valve element moves to the right and pushes the steel ball (2) away from the valve seat. When the check valve (3) is opened by control oil The oil can flow from B2 to B, and the unloading check valve (3) of pressure oil in B2 chamber is fully opened
为保证两个单向阀在换向中位时可靠的关闭 阀的A1 B1口与回油路连接 In order to ensure that the A1 B1 port of the closing valve is reliably connected with the oil return circuit when the two check valves are in the middle of the reversing position

Z2S16...5X/...叠加式液控单向阀 1阀芯 2钢球 3单向阀
图形符号(①=阀侧;②=底板侧)

技术参数 technical parameter

性能曲线(在使用HLP46,t=40℃±5℃时测得)

---A→A1; B→B1
---A1→1; B1→B
1开启压力0.3MPa
2开启压力0.5MPa
3开启压力0.75MPa
4开启压力1.0MPa
Z2S22...5X系列叠加式液控单向阀 性能参数 Performance description
通径(NG)22 ,压力至31.5MPa ,流量至450L/min Diameter (NG) 22, pressure to 31.5MPa, flow to 450L/min
连接尺寸按DIN24340
可以无泄漏封闭一个或二个工作油口
叠加式结构,适用于垂直叠装
四种不同开启压力(可选)
典型回路

功能说明、剖面图 Function description and sectional drawing
Z2S22型单向阀是叠加式液控单向阀。它可以用于关闭一个或二个工作油口 无泄漏持续时间长,稳定性好。油液可以由A1至A2或B1至B2自由流动.而反方向则封闭 Z2S22 one-way valve is a superimposed hydraulic control one-way valve. It can be used to close one or two working oil ports without leakage for a long time and has good stability. Fluid can flow freely from A1 to A2 or B1 to B2. The opposite direction is closed
当油液由A1至A2.压力油作用在阀芯(1)上.阀芯则向右运动并推动钢球(2)离开阀座。单向阀(3)被控制油打开时.油液可从B2流向B1,压力油在B2腔卸荷,单向阀(3)全部打开 When the oil flows from A1 to A2, the pressure oil acts on the valve element (1). The valve element moves to the right and pushes the steel ball (2) away from the valve seat. When the check valve (3) is opened by control oil The oil can flow from B2 to B, and the unloading check valve (3) of pressure oil in B2 chamber is fully opened
为保证两个单向阀在换向中位时可靠的关闭 阀的A1 B1口与回油路连接 In order to ensure that the A1 B1 port of the closing valve is reliably connected with the oil return circuit when the two check valves are in the middle of the reversing position

Z2S22...5X/...叠加式液控单向阀 1阀芯 2钢球 3单向阀
图形符号(①=阀侧;②=底板侧)

技术参数 technical parameter

性能曲线(在使用HLP46,t=40℃±5℃时测得)

---A→A1; B→B1
---A1→1; B1→B
1开启压力0.3MPa
2开启压力0.5MPa
3开启压力0.75MPa
4开启压力1.0MPa



在线客服