RETZ进口品质 孔板流量计
简要描述:RETZ品牌进口孔板流量计作为过程自动化控制系统的检测仪表和测量物料数量的总量表,被广泛适用于煤炭、化工、交通、建筑、轻纺、食品、医药、农业、环境保护各个领域
品牌:RETZ美国瑞茨
工况条件:流体测控
温度/压力:P-T: 16bar@200℃
更新时间:2023/04/04
进口孔板流量计原理及用途Principle and purpose
孔板流量计是将标准孔板与多参量差压变送器(或差压变送、温度变送器及压力变送器)配套组成的高量程比差压流量,充满管
道的流体流程管道内的节流装置,在节流件附近边成局部收缩,流速增加,在其上、下游两侧产生静压力差(如图)。在已知有关参数的条件下,根据流动连续件原理和伯努利方程可以推异出辨压与流量之间的关系(流量愈大,所产生的压差愈大)而求得流量。
Orifice plate flowmeter is a high range ratio differential pressure flow device composed of a standard orifice plate and a multi-parameter differential pressure transmitter (or differential pressure transmitter, temperature transmitter, and pressure transmitter). The throttling device in the fluid flow pipeline that is filled with the pipeline locally contracts near the throttling component, increases the flow rate, and generates a static pressure difference on both upstream and downstream sides (as shown in Figure 1). Under the condition that relevant parameters are known, the relationship between differential pressure and flow rate can be inferred based on the principle of flow continuity and Bernoulli equation (the larger the flow rate, the greater the pressure difference generated) to obtain the flow rate.
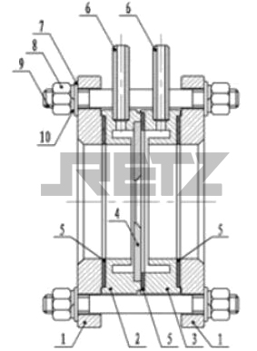
法兰取压标准孔板:1.取压法兰;2.节流件(孔板芯)3.金属缠绕垫片;4.高低压取压管;5.标牌;6.弹垫;7.螺母;8.平垫;9.螺栓。
Standard orifice plate for flange pressure measurement: 1. Pressure measurement flange; 2. Throttling element (orifice core) 3. Metal wound gasket; 4. High and low pressure pressure tapping pipes; 5. Signage; 6. Spring pad; 7. Nut; 8. Flat cushion; 9. Bolts

环室取压标准孔板:1.法兰;2.前环室;3.后环室;4.节流件(孔板芯)5.金属缠绕垫片;6.高低压取压管;7.平垫;8.螺母;9.螺栓;10.弹垫。
Standard orifice plate for ring chamber pressure measurement: 1. flange; 2. Front ring chamber; 3. Rear ring chamber; 4. Throttling element (orifice core) 5. Metal wound gasket; 6. High and low pressure pressure tapping pipes; 7. Flat cushion; 8. Nut; 9. Bolts; 10. Spring pad

角接钻孔取压标准孔板:1.法兰;2节流件(孔板芯)3.金属缠绕垫片;4.高低压取压管;5.标牌;6.弹垫;7.平垫;8.螺母;9.螺栓。
Corner joint drilling pressure standard orifice plate: 1. flange; 2. Throttling element (orifice core) 3. Metal wound gasket; 4. High and low pressure pressure tapping pipes; 5. Signage; 6. Spring pad; 7. Flat cushion; 8. Nut; 9. Bolts

径距取压管段式标准孔板:1.法兰;2.测量导管;3.节流件(孔板芯)4.高低压取压管
Standard orifice plate for diameter distance pressure measuring pipe section: 1. flange; 2. Measurement catheter; 3. Throttling element (orifice core) 4. High and low pressure pressure tapping pipe

技术参数 Technical parameter
节流件名称 | 适用管道 | 适用直径比B(d/D) | 应用特点 | 流出系数不确定度Ec% | 设计标准 | ||
(DN mm) | |||||||
50-500 | 0.2-0.75 | 适用于清洁介质其中GD结构适合高温高压条件下流量的测量 | 0.6-0.75% | ISO5167 | |||
环室式 | 50-500 | 0.2-0.75 | GB/T2624-93 | ||||
角接取压标准孔板 | 夹紧环式 | 50-500 | 0.2-0.75 | 易于清除污物,可用于不太清洁流体流量的测量 | |||
斜钻孔式 | 450-1000(3000) | 0.2-0.75 | |||||
法兰取压标准孔板 | 50-1000 | 0.2-0.75 | 易于清除污物,适用于各种介质 | 0.6-0.75% | ISO5167 | ||
径距取压标准孔板 | 50-1000 | 0.2-0.75 | GB/T2624-93 | ||||
角接取压标准喷嘴 | 50-500 | 0.3-0.8 | 压损小,寿命长,尤其适用于蒸汽流量测量 | 0.8-1.2% | ISO5167 | ||
(ISA1932喷嘴) | GB/T2624-93 | ||||||
50-630 | 0.2-0.8 | 压损小寿命长,LGP型长径喷嘴组件适合高参数水和蒸汽流量测量 | 2.00% | ISO5167 | |||
长径喷嘴 | GB/T2624-93 | ||||||
机械加工式 | 100-800 | 0.2-0.8 | 压力损失小,所需直管段小于孔板、喷嘴 | 1.00% | ISO5167 | ||
经典文丘利管 | 粗焊铁板式 | 200-1200(2000) | 0.4-0.7 | 1.50% | GB/T2624-93 | ||
65-500 | 0.316-0.77 | 同上 | 1.2-1.75% | ISO5167 | |||
文丘利喷嘴 | GB/T2624-93 | ||||||
1/4圆孔板 | 25-150 | 0.245-0.6 | 适用于低雷诺数 | 2.0-2.5% | DIN BS | ||
锥形入口孔板 | 25-250 | 0.1-0.316 | 同上 | 2.00% | BS | ||
圆缺孔板 | 50-1500 | 0.32-0.8 | 适用于赃污,有气泡析出或含有固体微粒的流体测量。 | 1.50% | DIN | ||
偏心孔板 | 100-1000 | 0.46-0.84 | 1-2% | ASME | |||
小孔板 | 12.5-40 | 0.2-0.75 | 适用于小管道流量测量 | 0.75% | ASME | ||
透镜式孔板 | 12.5-150 | 0.2-0.75 | 适用于高压常温小管道流量测量 | 0.6-0.75% | ISO5167ASME | ||
端头孔板 | 大于等于15 | 0.2-0.62 | 1.5-2.0% | ||||
双重孔板 | 25-400 | 0.2-0.8 | 适用于大流量测量 | ||||
限流孔板 | |||||||
主要特点 Main features
节流装置结构简单、牢固,性能稳定可靠,使用期限长 The throttling device has a simple and firm structure, stable and reliable performance, and a long service life
应用范围广,全部单相流皆可测量,部分混相流亦可应用 Wide application range, all single-phase flows can be measured, and some mixed phase flows can also be applied
标准型节流装置无须实流校准,即可投用 The standard throttling device can be put into use without actual flow calibration
安装更简单,无须引压管,可直接接差压变送器和压力变送器 Installation is simpler, without the need for pressure pipes, and can be directly connected to differential pressure transmitters and pressure transmitters
采用进口单晶硅智能差压传感器 Adopting imported monocrystalline silicon intelligent differential pressure sensor
高精度,完善的自诊断功能 High precision and comprehensive self-diagnosis function
智能孔板流量计智能孔板流量计其量程可自编程调整 The range of the intelligent orifice flowmeter can be self programmable and adjusted
智能孔板流量计可同时显示累计流量、瞬时流量、压力、温度 The intelligent orifice flowmeter can simultaneously display cumulative flow rate, instantaneous flow rate, pressure, and temperature
具有在线、动态全补偿功能外,智能孔板流量计还具有自诊断、自行设定量程 In addition to online and dynamic full compensation functions, the intelligent orifice flowmeter also has self-diagnosis and self setting range
配有多种通讯接口 Equipped with multiple communication interfaces
稳定性高 High stability
量程范围宽、大于10:1 Wide range, greater than 10:1
安装指导 Installation instructions
1.孔板安装前应仔细核对标准孔板的编号、位号、规格是否与管道情况、流量范围等参数相符。
2.新设管路系统,必须先经冲洗、扫线后再安装孔板,以防管内杂物堵塞或损伤孔板,
3.孔板的中心应当与管道中心同轴,同轴度误差不得超过±【0.015*(1/β)-0.015】。并且节流端平面应当与管道的垂直,误差不得超过±1°。
4.孔板安装时,垫片夹紧后不得突入管道内壁。
5.孔板安装处必须严密,不允许有泄漏现象。安装后,进行试压
6.导压管应垂直或倾斜敷设,其便斜度不得小于1:12。粘度较高的流体倾斜度还应增大。当差压讯号传送距离超过3米时,导压管应当分段倾斜,并在各最高点和最低点分别安装集气器和沉降器。
7.在孔板流量计前后若需安装阀门,最好选闸阀且在运行中全开;调节阀则应在下游5DN之后的管路中。
8.引压管路应有牢固的支架托承,两根取压管路应尽可能互相靠近并远离热源或震动源,测量水蒸汽流量时,应用保温材料一同包扎,必要时(如气温0℃以下)加伴热管防止结冰。在测量脏污流量时,应附设隔离器或沉降器
9.测量液体流量时引压管水平段应在同一水平面内。若是在垂直管道上安装节流件,引压短管之间相距一定的距离(垂线方向),这对差压变送器的零点有影响,应通过“零点迁移”来校正。
10.引压管路的内径与管路长度和介质脏污程度有关,通常在45米以内用内径为8-12mm的管子
11.引压管路内必须始终保持单相流体状态。被测流体是气体时,引压管路(包括差压计的压力腔)内全部是气相;被测流体是液体时,引压管路内全部是液相,绝对不能有气泡。为此应在引压管路的最低点装排水阀或在最高点装排气阀,在新装或检修差压变送器时时应特别注意。
12.孔板在垂直管道上安装时,肌压口位置可以在肌压装置的平面上任章选择,当孔板水平或顺斜安装在主管道内时,即压口位置如图所示。

13.节流装置上、下游侧要保证一定长度的直管段,具体要求见表:

测量无腐蚀液体流量的安装示意图 1-节流装置;2-阀门;3-沉降器;4-差压计;5-集气器
Installation diagram for measuring the flow rate of non corrosive liquid -1- Throttling device; 2-valve; 3- Settler; 4- Differential pressure gauge; 5- Gas collector

测量腐蚀液体流量的安装示意图(隔离液密度大于被测液密度)1-节流装置;2-阀门;3-隔离器;4-沉降器;5-差压计;6-集气器
Installation diagram for measuring corrosion liquid flow rate (isolation liquid density greater than measured liquid density) 1- throttling device; 2-valve; 3-Isolator; 4- Settler; 5- Differential pressure gauge; 6- Gas collector

测量无腐蚀性气体流量的安装示意图 1-节流装置;2-阀门;3-吹洗阅;4-沉降器;5-差压计
Installation diagram for measuring non corrosive gas flow rate - throttling device; 2-valve; 3- Purge and read; 4- Settler; 5-Differential pressure gauge

测量腐蚀性气体流量的安装示意图(液体隔离)1-节流装置;2-阀门;3-隔离器;4-差压计;5-沉降器
Installation diagram for measuring corrosive gas flow (liquid isolation) 1- Throttling device; 2-valve; 3-Isolator; 4- Differential pressure gauge; 5-Settler

测量蒸汽流量安装示意图 1-节流装置;2-阀门;3-保温层;4-沉降器;5-差压计;6-集气器
Installation diagram for measuring steam flow 1-Throttling device; 2-valve; 3- Insulation layer; 4- Settler; 5- Differential pressure gauge; 6- Gas collector

技术要求
1.差压计装在节流装置下方,沉降器是可选项。
2.向隔离器中充灌液体时,应先灌密度较大的液体
3.马奥液体的起始液面是充灌液体必须达到的液面,以便保证隔离液有足够的储备量。
4.隔离液终结液面是重新充灌陷离液体时的液面。
5.如果被测液体可能析出沉淀物时,建议安装沉降器。
常见故障及解决方法 Common faufts and Solutions
故障现象 | 产生原因 | 解决方案 |
无差压信号输出 | 高低压阀门未打开 | 打开高低压阀门 |
平衡阀未旋紧 | 旋紧平衡阀 | |
差压信号输出过小 | 差压量程不匹配 | 调整变送器量程 |
高压引压管泄漏 | 查找并排除泄漏 | |
差压信号输出过大 | 低压引压管堵塞 | 清理引压管 |
差压量程不匹配 | 调整变送器量程 |
附件 appendix
自带附件:引压管、连接法兰、螺栓、垫片
可选附件:冷凝器、承插焊问阀、三阀组、针型截止阀、集气器、隔离器、沉降器
可选相关商品:压力变送器、温度变送器、流量计积算仪、智能差压变送器。



在线客服