RETZ进口品质 隔膜式安全泄压阀
简要描述:RETZ进口隔膜式安全泄压阀主要用于高层建筑和工矿企业以及医药、食品等领域的管路系统中,可对压力波快速反应快速释放,防止压力急剧增高而损坏管线及设备,特别适用于高层楼房消防系统泄压,并可以安装于减压阀的下游,确保系统安全不超压
品牌:RETZ美国瑞茨
工况条件:泄压持压
温度/压力:P-T: 25bar@100℃
更新时间:2023/04/16
产品描述 Product Description
进口隔膜式安全泄压阀在传动方式上采用了水力操作并能自动控制,即利用控制管路中的压差自动开合,关闭主阀,使上游的压力不超过某一设定值。阀体采用了全通流线型设计,流体阻力小,密封性能好,自动启闭性能灵敏。该阀的主要特点是即可以作泄压阀,又可以作持压阀。作泄压阀时可将给水管路中超过向导阀安全设定值压力释放掉,并维持管路中压力于一安全设值以下,以防止管路中高压或突压毁损管线或设备,可用于高层大楼消防测试循环系统以及其它给水平衡系统之泄压用,防止水压过高造成系统危险;作持压阀时可维持主阀上游供水压力于某一设定值以上,以保障主阀上游供水区的压力。
The imported diaphragm safety relief valve adopts hydraulic operation and can be automatically controlled in transmission mode, that is, it uses the pressure difference in the control pipeline to automatically open and close the main valve, so that the upstream pressure does not exceed a certain set value. The valve body adopts full pass streamline design, with small fluid resistance, good sealing performance and sensitive automatic opening and closing performance. The main feature of this valve is that it can be used as both a pressure relief valve and a pressure holding valve. When using a pressure relief valve, the pressure in the water supply pipeline that exceeds the safety setting value of the guide valve can be released, and the pressure in the pipeline can be maintained below a safety setting value to prevent damage to the pipeline or equipment due to high pressure or sudden pressure in the pipeline. It can be used for pressure relief in high-rise building fire testing circulation systems and other water supply balance systems, to prevent system danger caused by high water pressure; When acting as a pressure holding valve, it can maintain the upstream water supply pressure of the main valve above a certain set value to ensure the pressure in the upstream water supply area of the main valve.
其特点如下 Its characteristics are as follows
1、准确且保持不变的安全稳定压力,一旦超压,泄压阀能充分打开及时泄压 accurate and constant safe and stable pressure, once overpressure, the pressure relief valve can fully open timely pressure relief
2、关闭速度可调,消除压力波动 closing speed is adjustable, eliminate pressure fluctuations
3、隔膜传动机构将操作泻后现象减到最小 diaphragm transmission mechanism will reduce the phenomenon after operation to the minimum
工作原理 working principle
该阀安装在管路中起泄压/持压作用,即与主管道并联安装。当上游压力低于导阀设定值,导阀关闭,上游压力作用在主阀的隔膜(活塞)上方,使主阀维持关闭,一旦上游压力逐渐上升超过导阅设定值的压力,导阀就会自动关闭,将隔膜(活塞)上方的压力水径导阀和球阀泄向下游,此时主阀在上游压力作用下开启,大量泄水,直到降到设定值时,才缓慢关闭,不会产生水锤,动作灵敏。
The valve is installed in the line to relieve pressure / hold pressure, which is installed in parallel with the main line. When the upstream pressure is below the set value of the guide valve, the guide valve closed, the upstream pressure diaphragm (piston) above the main valve, the main valve, closed, once the upstream pressure gradually rise over the guide set value, the guide valve will automatically close, the diaphragm (piston) above the pressure diameter guide valve and the ball valve to the downstream, the main valve in the upstream pressure open, a lot of water, until down to the set value, slowly closed, will not produce water hammer and sensitive action.
压力等级:PN10(调节范围0.3-0.9MPa)
PN16(调节范围0.5-1.4MPa)
PN25(调节范围0.5-2.4MPa)
隔膜式:DN50~DN350
活塞式:DN50~DN800
全开状态 Fully open state
当水泵启动后,阀门进水口压力上升,压力水一方面推动主阀板开启,另一方面通过导管系统进入膜片(活塞)下腔,而膜片(活塞)上腔的水通过导管系统泄入压力低的阀门出水口,而阀门在二合力的作用下缓慢开启。
After the water pump starts, the pressure at the valve inlet rises. On the one hand, the pressure water pushes the main valve plate open, and on the other hand, it enters the lower chamber of the diaphragm (piston) through the conduit system. The water in the upper chamber of the diaphragm (piston) is discharged into the outlet of the low pressure valve through the conduit system, and the valve slowly opens under the combined force of the two forces

全闭状态 Fully closed state
当水泵停机后,阀门中的水流速度降低,在接于近零时,主阀板在弹簧力和自身重力作用下快速关闭,而阀后的压力水通过导管系统返回膜片(活塞)上腔,并推动固定阀杆上的小阀板缓慢关闭。
After the water pump stops, the water flow velocity in the valve decreases. When it is close to zero, the main valve plate quickly closes under the action of spring force and self gravity, while the pressure water behind the valve returns to the upper chamber of the diaphragm (piston) through the conduit system and pushes the small valve plate on the fixed valve rod to slowly close.

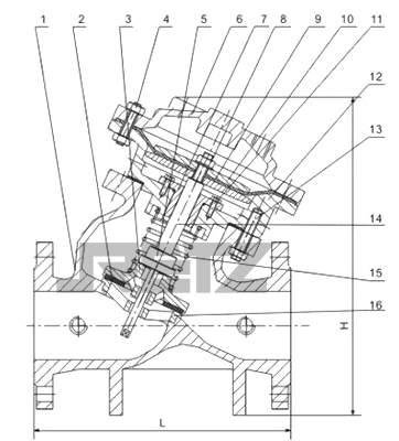
结构和主要零件材质 Structure and main component materials
隔膜式安全泄压阀由主阀、导阀、针阀、球阀、过滤器和压力表等组成,由于导阀、针阀和压力表等要用外接导管与主阀相连接,所以统称为导管控制系统,按不同通径的需求,可分膜片式和活塞式,如下图所示
Diaphragm type safety relief valves are composed of main valve, pilot valve, needle valve, ball valve, filter, and pressure gauge. Due to the need for external conduits to connect the pilot valve, needle valve, and pressure gauge to the main valve, they are collectively referred to as conduit control systems. According to the requirements of different diameters, they can be divided into diaphragm type and piston type, as shown in the following figure

序号NO. | 零件名称Name | 主要材质Main Material |
1 | 阀体Valve Body | 铸铁、铸钢、不锈钢Cast lron, Cast steel,Stainless steel |
2 | 密封圈Sealing Ring | 丁晴橡胶Nitrite-butadiene Rubber(NBR) |
3 | 阀板Valve board | 球铁、铸钢Spheroidal Graphite Cast lron, Cast steel |
4 | 螺柱、螺母Plug,nut | 碳素钢Carbon steel |
5 | 小阀板Small Valve board | 铸钢、不锈钢Cast steel,Stainless Steel |
6 | 阀盖Bonnet | 铸铁、铸钢、不锈钢Cast lron, Cast steel,Stainless steel |
7 | 导向套Guide sleeve | 球铁、黄铜Spheroidal Graphite cast lron,Brass |
8 | 阀杆螺母Valve Stem nut | 碳素钢Carbon steel |
9 | 膜片Diaphragm | 丁晴橡胶Nitrite-butadiene Rubber (NBR) |
10 | 膜片压板Diaphragm Pressure Plate | 球铁、碳素钢Spheroidal Graphite Cast lron, Carbon steel |
11 | 导向套螺钉Screw to guide sleeve | 碳素钢Carbon steel |
12 | 膜片座Diaphragm seat | 铸铁、铸钢、不锈钢Cast Iron, cast steel, Stainless steel |
13 | 螺栓Bolt | 碳素钢Carbon steel |
14 | 阀杆Valve Stem | 不锈钢Stainless steel |
15 | 压缩弹簧Compression Spring | 不锈钢Stainless steel |
16 | 阀座Valve seat | 碳素钢、不锈钢Carbon steel, Stainless steel |
1.为了更有效地防止水锤的产生,水力控制阀将控制室设计成双腔体形式。根据不同的用途可以将两个腔室彼此隔离或相通,以实
现缓开、缓闭或速闭等辅助功能。在一定程度上阻碍水锤的产生或功缓解水锤的力度,保护阀后的其他设备不受损坏。除此之外,阀盖与上腔室连为一体,使得阀盖、上腔室、阀杆、阀盘成为整体,只要松开阀体上的连接螺栓,即可将其一并取出,方便维修及更换易损件。
In order to more effectively prevent the generation of water hammer, the hydraulic control valve designs the control room in a dual chamber form. According to different purposes, two chambers can be isolated or connected to each other to achieve auxiliary functions such as slow opening, slow closing, or quick closing. To some extent, it hinders the generation of water hammer or alleviates the force of water hammer, protecting other equipment behind the valve from damage. In addition, the valve cover is connected to the upper chamber as a whole, making the valve cover, upper chamber, valve stem, and valve disc a whole. As long as the connecting bolts on the valve body are loosened, they can be taken out together for easy maintenance and replacement of vulnerable parts.
2.隔膜式水力控制阀阀杆两头导向的结构,采用中段长节距导向,避免了阀盖和阀座上的导向孔因加工或安装不同心,导致阀杆运
动受阻、易卡死现象,中段导向套与上阀体整体浇铸,加工精度得到保证,同时在与阀杆的接触面间加一铜质衬套,保护阀杆表面不被磨损、擦毛,使阀杆运动自如、平稳、灵活。
The structure of the diaphragm type hydraulic control valve stem is guided at both ends, adopting a mid section long pitch guidance, which avoids the phenomenon of the valve stem movement being blocked and easily stuck due to uneven machining or installation of the guide holes on the valve cover and valve seat. The mid section guide sleeve and upper valve body are cast as a whole, ensuring machining accuracy. At the same time, a copper sleeve is added between the contact surface with the valve stem to protect the surface of the valve stem from wear and burrs, making the valve stem move freely and smoothly flexible
3.隔膜式水力控制阀的阀盖、上腔室、阀杆、阀盘可整体取出,方便维修及更换橡胶密封面、O形环等易损件。阀盖与上腔室之间
的隔膜采用尼龙网布加强型橡胶隔膜,耐剪切应力使用安全可靠。内件包括上腔式、阀杆、阀盘、弹簧、螺栓等,除了不锈钢件以外都进行了无毒喷塑处理,具有良好的防腐性能。
The valve cover, upper chamber, valve stem, and valve disc of the diaphragm hydraulic control valve can be taken out as a whole, making it convenient for maintenance and replacement of vulnerable parts such as rubber sealing surfaces and O-rings. The diaphragm between the valve cover and the upper chamber is made of nylon mesh reinforced rubber diaphragm, which is safe and reliable for shear stress resistance. The internal components, including the upper chamber, valve stem, valve disc, spring, bolt, etc., have undergone non-toxic spray molding treatment except for stainless steel parts, which has good anti-corrosion performance.
4.隔膜式水力控制阀的阀盘采用间隙组合结构,即阀杆和阀盘孔之间有一定的间隙;阀盘用螺钉和挡块相对固定在阀杆之间并留有
1-2毫米间隙,这样阀盘在垂直于阀杆的平面上有一定的自由度,可以弥补由于加工或装配误差造成阀座密封面与阀杆不垂直的缺陷,实现了零泄漏
The valve disc of the diaphragm hydraulic control valve adopts a clearance combination structure, that is, there is a certain gap between the valve stem and the valve disc hole; The valve disc is relatively fixed between the valve stem with screws and stop blocks, leaving a gap of 1-2 millimeters. This allows the valve disc to have a certain degree of freedom in the plane perpendicular to the valve stem, which can compensate for the defect of the valve seat sealing surface not being perpendicular to the valve stem due to machining or assembly errors, achieving zero leakage.
基本流量压差特性曲线图(Basic Flow and Differential Pressure Characteristic Graph)

安装与调试
安装
1、主阀应水平式安装,安装前要彻底清除管道内杂物。要注意主阀体外水流标示箭头,要遵循方向安装。安装后应确保没有管路应力作用在阀体及阀内部件上。
2、主阀前要装一直闸阀和一只过滤器,主阀后也要装一只间阀,以便于维修。
3、导阀和导管控制系统已于出厂前装配和调整完毕,如导阀出厂设定压力值不适合现场要求,可作如下调整:先松开导阀手轮下的锁紧螺母,然后顺时针拧动导阀手轮为增加压力,反之为降压,调好后锁好锁紧螺母。
4、通水前必须彻底冲洗管路系统。
5、对重要给水管路应安装旁通阀。
6、过滤器要定期清洗。




在线客服