RETZ进口品质 过滤活塞式可调减压阀
简要描述:RETZ进口过滤活塞式可调减压阀利用管路中的水压自动操作主阀瓣的上下移动,控制阀门的开度,调节下游压力,使下游压力维持在导阀弹簧设定值上 ,一般用于生活给水、消防及工业给水系统
品牌:RETZ美国瑞茨
工况条件:水力调节
温度/压力:P-T: 25bar@100℃
更新时间:2023/04/17
产品描述 Product Description
进口过滤活塞式可调减压阀是利用管路中的水压自动操作主阀瓣的上下移动,控制阀门的开度,调节下游压力,使下游压力维持在导阀弹簧设定值上,当下游压力超过设定值时,减压阀将自动关闭,不管进口压力怎样波动,都可输出稳定的出口压力。不管下游流量怎样变换,都能维持出口稳定在导阀设定值之上。同时通过导阀调节的出口压力调节范围大,可达到阀前压力10-80%
The imported filter piston type adjustable pressure reducing valve utilizes the water pressure in the pipeline to automatically operate the up and down movement of the main valve disc, control the valve opening, adjust the downstream pressure, and maintain the downstream pressure at the set value of the guide valve spring. When the downstream pressure exceeds the set value, the pressure reducing valve will automatically close, and can output stable outlet pressure no matter how the inlet pressure fluctuates. No matter how the downstream flow changes, the outlet can be maintained stable above the set value of the pilot valve. At the same time, the outlet pressure adjustment range adjusted by the pilot valve is large, which can reach 10-80% of the valve front pressure
压力等级:PN10(调节范围0.1-0.8MPa)
PN16(调节范围0.2-1.4MPa)
PN25(调节范围0.3-2.0MPa)
规格:DN40~DN500
工作原理 working principle
多功能过滤活塞式控制阀是通过一个双腔控制室,利用液压原理控制主阀板缓慢开启或处于调节状态。阀门在阀盖上配置调节螺杆置,因而可以控制阀门的最大开度和流量,并在必要时可以手动阀。
The multifunctional filtering piston control valve is controlled by a dual chamber control chamber, using hydraulic principles to slowly open or adjust the main valve plate. The valve is equipped with an adjusting screw on the valve cover, which can control the maximum opening and flow rate of the valve, and can be manually operated if necessary.

全开状态 Fully open state
当水泵启动后,阀门进水口压力上升,压力水一方面推动主阀瓣开启,另一方面通过导管系统进入活塞下腔,而活塞上腔的水通过导管系统泄入压力级的阀门出水口,而阀门在二合力的作用下缓慢开启
When the pump is started, the pressure of the valve inlet rises, and the pressure water on the one hand pushes the main valve disc to open, on the other hand, it enters the piston lower chamber through the catheter system, and the water from the piston upper cavity leaks into the valve outlet of the pressure level through the catheter system, and the valve slowly opens under the action of the two resultant force.?
全闭状态 Fully closed state
当水泵停机后,阀门中的水流速度降低,在接于近零时,主阀板在弹簧力和自身重力作用下快速关闭,而阀后的压力水通过导管
系统返回到活塞上腔,并推动固定在阀杆上的小阀板缓慢关闭。
When the pump is shut down, the water flow speed in the valve is reduced. At nearly zero, the main valve plate is quickly closed under the action of spring force and its own gravity, while the pressure water behind the valve is returned to the piston upper cavity through the catheter system, and then the small valve plate fixed on the valve stem is pushed to be slowly closed.
结构和主要零件材质 Structure and main component materials
多功能过滤活塞式控制阀系列在主阀内部装有过滤网结构与多功能水力控制阀+Y型过滤器的配套装置相比,大大节省阀门的成本和安装空间。阀门的驱动装置采用双腔控制结构,即活塞下腔与下游处单独隔出一个控制室。本系列阀门是通过主阀内双腔与外装的导阀、导管、调节阀等连接组合成使用场所、目的及功能不同的阀门。此外,还在活塞上腔的阀盖上配备了调节螺杆装置,通过调节螺杆可以适当的调节流量或者关闭阀门。
The multifunctional filtering piston control valve series is equipped with a filter mesh structure inside the main valve, which greatly saves the cost and installation space of the valve compared to the supporting device of the multifunctional hydraulic control valve and Y-shaped filter. The driving device of the valve adopts a dual chamber control structure, which means that the lower chamber of the piston is separated from the downstream by a separate control room. This series of valves are assembled into valves with different use places, purposes and functions through the connection of the main valve's internal double chamber and the external pilot valve, conduit, regulating valve, etc. In addition, an adjusting screw device is also equipped on the valve cover of the piston upper chamber, which can adjust the flow rate or close the valve appropriately.

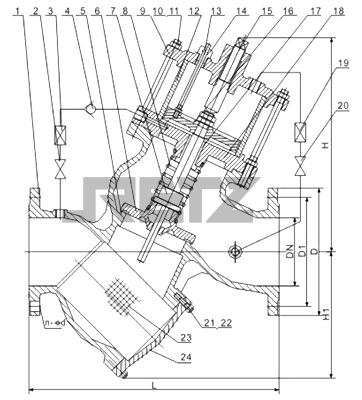
序号 | 零件名称Name | 材质Material |
1 | 阀体Valve Body | 铸铁、铸钢 Cast Iron、Casting steel |
2\20 | 球阀Ball valve | 黄铜Brass |
3\19 | Y型过滤器Ytype filter | 黄铜Brass |
4 | 微止回阀Micro non-return valve | 黄铜Brass |
5 | 阀座Valve seat | 铸钢Casting steel |
6 | 阀瓣Disc | 铸钢Casting steel |
7 | 阀杆Valve Stem | 不锈钢Stainless Steel |
8 | 压缩弹簧Compression spring | 不锈钢Stainless Steel |
9 | 阀盖Bonnet | 铸铁、铸钢 Cast Iron、Casting steel |
10 | 六角螺母Hex nut | 碳素钢Carbon steel |
11 | 双头螺柱Double-screw stud | 碳素钢Carbon steel |
12 | 活塞缸Pistonjar | 不锈钢Stainless Steel |
13 | 指示杆Indication rod | 不锈钢Stainless Steel |
14 | 填料盒Packing box | 黄铜Brass |
15 | 调节螺杆Regulate spiral shell' s pole | 不锈钢Stainless Steel |
16 | 活塞Piston | 不锈钢Stainless Steel |
17 | 导向套Guide sleeve | 黄铜Brass |
18 | 活塞座Piston seat | 铸铁、铸钢 Cast Iron、Casting steel |
21 | 六角螺母Hex nut | 碳素钢Carbon steel |
22 | 双头螺柱Double-screw stud | 碳素钢Carbon steel |
23 | 过滤网Screen | 不锈钢Stainless Steel |
24 | 过滤网盖Cover to filter screen | 铸铁、铸钢 Cast Iron、Casting steel |
阀顶设有行程调节装置,可根据管道压力流量的大小调节主阀盘的开启高度,从而可达到最佳的使用效果。在此位置可设置开度
指示装置或信号反馈装置。
The valve top is equipped with a stroke adjustment device, which can adjust the opening height of the main valve disc according to the pressure and flow rate of the pipeline, thus achieving the best use effect. At this position, an opening indication device or signal feedback device can be set
采用主副密封结构,主密封阀盘随介质的压力的大小自动打开和关闭。副密封阀盘受控制室介质的影响,随水锤峰值到达时间的长短自动关闭,从而消除水击现象。
Adopting a main and auxiliary sealing structure, the main sealing valve disc automatically opens and closes with the pressure of the medium. The secondary sealing valve disc is affected by the medium in the control room and automatically closes with the time when the water hammer peak reaches, thereby eliminating the phenomenon of water hammer

安装示意图 installation diagram




在线客服