RETZ进口品质 液力自动控制阀 蝶式阻尼止回阀
简要描述:RETZ进口液力自动控制阀、蝶式阻尼止回阀用于水泵出口处,广泛用于冶金、石化、石油、市政、环保、水利等行业的供排水系统中
品牌:RETZ美国瑞茨
工况条件:液力自动控制
温度/压力:P-T: 25bar@100℃
更新时间:2023/04/19
产品描述 Product Description
进口液力自动控制阀、蝶式阻尼止回阀用于水泵出口处,能取代止回阀、截止阀及水锤消除器。具有截流止回、轻载启泵、消除水锤等多种功能,有效保护水泵和管道设备安全。阀门开度可通过阀位变送器的数字显示仪进行现场调节,同时还可输出4-20mA直流电流供计算机集中控制。
Imported hydraulic automatic control valves and butterfly damping check valves are used at the outlet of water pumps and can replace check valves, globe valves, and water hammer eliminators. It has various functions such as interception and check, light load pump start, and elimination of water hammer, effectively protecting the safety of water pumps and pipeline equipment. The valve opening can be adjusted on-site through the digital display of the valve position transmitter, and it can also output 4-20mA DC current for centralized computer control.
主要技术性能(Main technical feature)
公称压力(MPa) | 公称压力P(MPa) | 壳体实验压力(MPa) | 密封实验压力(MPa) |
1.0 | 1.0 | 1.5 | 1.1 |
1.6 | 1.6 | 2.4 | 1.76 |
2.5 | 2.5 | 3.75 | 2.75 |
适用温度(℃) | 0~80℃ | ||
适用介质Suitable medium | 水、污水、海水water,sewage, sea water | ||
规格尺寸 size | DN300-DN1600 | ||
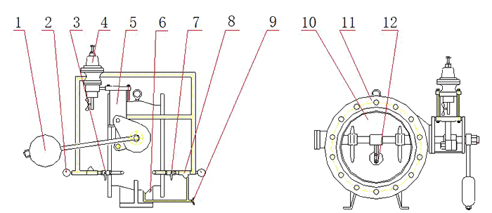
工作原理 Working principle
1、开阀:启泵时,进口端压力水经球阀7、过滤器8后,其中一路通向换向阀4,推动换向阀换向,使活塞上腔与大气接通;另一路通向活塞下腔,推动活塞,带动小阀板12缓慢开启至全开位置,与此同时大阀板10在水力推动下随小阀板10一同开启,完成开阀。缓装置5中的活塞在压力水的作用下伸出。
Valve opening: when starting the pump, the pressure water at the inlet end passes through the ball valve 7 and the filter 8, one of which leads to the reversing valve 4, pushing the reversing valve to connect the upper chamber of the piston with the atmosphere; The other way leads to the lower chamber of the piston to push the piston and drive the small valve plate 12 to slowly open to the fully open position. At the same time, the large valve plate 10 is opened together with the small valve plate 10 under the hydraulic pressure to complete the valve opening. The piston in the buffer device 5 extends under the action of pressure water
2、关阀:停泵时,阀门进口端的压力低于某一预定值时,大阀板10在重力的作用下快速关闭,截断大部分水流。此时换向阀4在弹簧的作用下自动换向,出口端的压力水经球阀3进入活塞上腔,推动活塞,带动小阀板12缓慢关闭,实现关阀。
Valve closing: When the pump is stopped, when the pressure at the inlet end of the valve is lower than a predetermined value, the large valve plate 10 quickly closes under the action of gravity, cutting off most of the water flow. At this point, directional valve 4 automatically reverses under the action of the spring, and the pressure water at the outlet enters the upper chamber of the piston through ball valve 3, pushing the piston and driving the small valve plate 12 to slowly close, achieving valve closure.
3、回水压力低于0.1MPa时,可利用平衡锤1产生的重力矩推动活塞,带动小阀板12缓慢关闭。
When the return water pressure is lower than 0.1MPa, the heavy torque generated by the counterweight 1 can be used to push the piston, driving the small valve plate 12 to slowly close

1.平衡锤 2.压力表 3.出口球阀 4.换向阀 5.活塞缸 6.缓闭装置 7.进口球阀 8.过滤器 9.针阀 10.大阀板 11.阀体 12.小阀板
1. Balance hammer 2. Pressure gauge 3. Outlet ball valve 4. Reversing valve 5. Piston cylinder 6. Slow closing device 7. Inlet ball valve 8. Filter 9. Needle valve 10. Large valve plate 11. Valve body 12. Small valve plate
主要零件材质 Structure and main component materials
零件名称 | 阀体 | 阀板 | 小阀板 | 阀杆 | 密封圈 | 缸套 | 支架 |
材质 | 灰铸铁gray castron, | 铸钢 | 铸钢 | 不锈钢 | 丁晴橡胶 | 不锈钢 | 碳钢 |
安装示意图 installation diagram
1、液力自动阀可立式安装,也可卧式安装,为了便于安装维修方便,在空间许可的情况下优先考虑卧式安装。
2、一定要按阀门的箭头方向安装,严禁反装。(当阀门关闭时,阀板光面为进口方向,装有阀轴的一面为出口方向)
3、卧式安装时,为了改善管道受力状况,当阀门口径大于DN700mm时,可设置支架或基础。
4、阀门进出口不能直接安装水泵或阀门,两端须有一倍管径以上的间距,以便阀板能够顺利开启关闭。
5、吊装、安装时,请注意保护压力表和旁通管。
6、平衡锤的安装:关阀状态时,平衡锤为水平并指向出口;开阀时,平衡锤随阀板缓缓上升。当阀门开到最大位置时,平衡锤与水平成65度角。
7、卧式安装时,严禁阀杆倾斜或垂直安装(见图二)

调试
1、检查阀门各部件是否有损坏,如有损坏应及时更换或维修。
2、新管道应先检查过滤器是否有异物,并清理过滤器。
3、开阀前将球阀3、和调节阀16调到半开位置。
4、开阀时间调节:启泵后,如果开阀速度快了,就将调节阀16还调小些,反之,就调大些。
5、开阀压力调节:调节调节螺栓13可以控制开阀压力,顺时针拧螺栓(紧)开阀压力升高,反之,降低。
6、换向阀的调节:启泵前,根据工况压力预先将调节螺栓13调到一定位置,启泵后调节调节螺栓13,使阀门开到最大位置后排水口刚好不出水,此时为最大开阀压力Pmax;阀门关闭后,调节调节螺栓13使排水口刚好不出水,此时为最小开阀压力Pmin。根据实际工况和用户的要求在最大压力Pmax和最小压力Pmin之间调节。调好后将调节螺栓13上的锁紧螺母锁紧。建议调到Pmax。
7、关阀时间调节:调节球阀3的开度可以控制关阀时间,球阀3关小,关阀时间减慢;反之,关阀时间加快。
8、缓闭的调节:调节针阀9的手轮,可以控制关阀的快慢。正常情况下,将手轮调到半开位置。如果阀门关闭太快,关阀响声较大,就将针阀手轮关小点,反之,可以将手轮调大点。




在线客服