RETZ进口品质 双向流硬碰硬旋球阀
简要描述:RETZ进口双向流硬碰硬旋球阀既有球阀双向密封、可调节的实用优势、又具备蝶阀体积小重量轻的结构特点。其实质为蝶式结构偏心半球阀,密封原理结合了固定球阀的前端密封与偏心蝶阀的强制密封,从而实现了高低压双向切断
品牌:RETZ美国瑞茨
工况条件:开/关
温度/压力:P-T: 25bar@100℃
更新时间:2023/04/24
结构特点Caharacteristics
旋球阀与蝶阀结构一样分为阀门本体(阀体、阀板、阀轴、阀座、密封压圈等),其中密封副的两个密封而上可根据不同的硬度需要运用等离子喷涂、堆焊等先进工艺形成硬质合金,能自动对正中心(自适应),自动越程补偿磨损,自动加以极高密封比压,瞬间关闭、瞬间打开密封刷间无摩擦打开时阀芯投影不断胀并前进结构短、体积小可制造大口径、特大口径、超大口径的阀门运输、安装、维护检修方便、运行可靠等一系列优点。
Ball valve and butterfly valve are divided into valve body (valve body, valve plate, valve shaft, valve seat, sealing ring, etc When the sealing brush is opened instantly without friction, the projection of the valve core continuously expands and advances. The structure is short, the volume is small, and it can manufacture valves with large, extra large, and super large diameters. It has a series of advantages such as convenient transportation, installation, maintenance, and reliable operation.
性能参数 performance parameter
项目名称 | 单位或代号 | 数 值 | ||||
公称通径 | DN | DN50mm~2000mm | ||||
公称压力 | PN | 6 | 10 | 16 | 25 | 40 |
壳体试验压力 | MPa | 0.9 | 1.5 | 2.4 | 3.75 | 6 |
正向密封试验压力 | MPa | 0.66 | 1.1 | 1.76 | 2.75 | 4.4 |
反向密封试验压力 | MPa | 0.66 | 1.1 | 1.76 | 2.75 | 4.4 |
工作温度 | ℃ | 80、120、150、200、300(要在订货合同中注明) | ||||
工作介质 | 水、蒸汽、油品等 | |||||
零部件名称 | 材料名称或代号 |
阀体 | 球墨铸铁、碳钢 |
阀板 | WCB、Q235、不锈钢 |
阀杆 | 不锈钢 |
阀座 | WCB、Q235、不锈钢 |
工作原理 Working principle
阀芯的密封面为三次曲面,阀座的密封面为1次圆锥面。在密封点处,阀座面实际上是阀芯三次曲面的切面(见图),因而其结合十分完美。有适;应(中心自动定位重合)和补偿磨损功能
The sealing surface of the valve core is cubic curved, and the sealing surface of the valve seat is 1 conical. At the sealing point, the valve seat surface is actually a section of the cubic surface of the valve core (see figure), so the combination is very perfect. Suitable; shall (center automatic positioning overlap) and compensation wear function
因为转动中心偏离阀芯几何中心就有阀芯打开时阀芯实体不断向后退、向内缩、阀芯关闭时阀芯实体不断前进、向外胀的实际效果其功能相当于半球阀、闸阀、截止阀、蝶阀的综合
Because the center of rotation deviates from the geometric center of the valve core, the valve core body keeps backward, inward when the valve core is opened, the actual effect of which is equivalent to the synthesis of hemisphere valve, gate valve, globe valve and butterfly valve
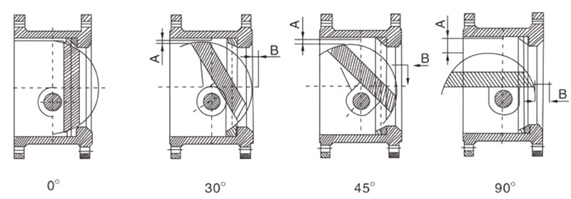
打开各不同角度变化图 Open the variation diagram of the different angles

双向流阀门的最主要功能是既能在正向压力时密封良好,在反向压力或反向压力大于正向压力时也能密封良好。当正向压力作用时,介质压力推动阀板向前移动,阀杆变形,甩板密封面紧贴阀座密封面传递压力,将阀座推向阀体台阶,使之密封良好。当反向压力作用时,介质压力推动阀板向后移动,阀杆变形,介质压力同时推动阀座密封面紧贴阀板密封面传递压力,将阀座推向阀杆极限变形位置,使之密封良好
The main function of the bidirectional flow valve is to seal well at the forward pressure, and to seal well when the reverse pressure or reverse pressure is greater than the forward pressure. When the positive pressure acts, the medium pressure pushes the valve plate forward, the valve rod deformation, the sealing surface of the swing plate close to the valve seat sealing surface transfer pressure, the valve seat to the valve body steps, so that it is well sealed. When the reverse pressure acts, the medium pressure pushes the valve plate to move back, the valve stem deformation, the medium pressure pushes the sealing surface of the valve seat close to the sealing surface of the valve plate to transfer pressure, pushing the valve seat to the ultimate deformation position of the valve stem, so that it is well sealed




在线客服