RETZ进口品质 MS2六点式压力表开关
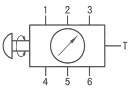
简要描述:RETZ进口MS2六点式压力表开关为转阀式开关,借助于旋转的阀套,用一个压力表可读出六个油路的压力
品牌:RETZ美国瑞茨
工况条件:压力表开关
温度/压力:P-T: 315bar@40℃
更新时间:2022/12/10
MS2...2X系列六点式压力表开关 技术参数 Technical paramete
压力至31.5MPa Pressure to 31.5MPa
MS2...2X系列六点式压力表开关为转阀式开关,借助于旋转的阀套,用一个压力表可读出六个油路的压力retz品牌 MS2... 2X series six point pressure gauge switch is a rotary valve type switch. With the help of a rotary valve sleeve, the pressure of six oil circuits can be read with one pressure gauge
压力测量口沿阀芯(7)的圆周布置 The pressure measuring port is arranged along the circumference of the valve element (7)
图形符号 Graphical symbols

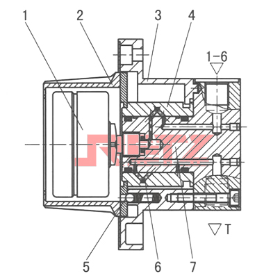
功能说明 Function description

该压力表开关的旋钮(2)内装有阻尼器的压力表(1)。旋转旋钮(2)和与它连接的阀套(4).直到旋钮(2)上的指针向六个测试点中的一个.于是那个特定的测试口与压力表(1)接通。为了使压力表(1)卸荷.在两个测试点之间设有卸荷点.这样.压力表(1)经由阀套(4)上的斜孔(6)和回油口T相连 The knob (2) of the pressure gauge switch is equipped with a pressure gauge (1) of the damper. Turn the knob (2) and the valve sleeve (4) connected to it Until the pointer on the knob (2) points to one of the six test points, then the specific test port is connected to the pressure gauge (1). In order to unload the pressure gauge (1), an unloading point is set between the two test points, so that the pressure gauge (1) is connected with the oil return port T through the inclined hole (6) on the valve sleeve (4)
内部止动装置(5)用来固定任何选定的压力表与测试点连通的位置.如旋钮边缘上的箭头在刻度盘上所示的那样 The internal stop (5) is used to fix the position where any selected pressure gauge connects with the test point, as shown by the arrow on the edge of the knob on the dial
技术参数 Technical parameter

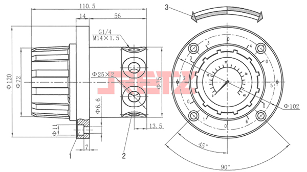
外形尺寸 Overall dimensions

1、4个固定螺钉孔 4 fixing screw holes
2、6个测试口和一个回油口沿圆周均匀分布 Six test ports and one oil return port are evenly distributed along the circumference
3、顺时针或逆时针方向转动旋钮.便可直接测得读数零点安排在指示点中间 Turn the knob clockwise or anticlockwise. The zero point of the directly measured reading is arranged in the middle of the indicator point
安装注意事项:考虑到操作力. 建议径向相对油口压力应是近似平衡的. 不用的油口应堵住 Precautions for installation: consider the operating force It is suggested that the radial relative oil port pressure should be approximately balanced The unused oil port should be blocked



在线客服