RETZ进口品质 DR先导式减压阀
简要描述:RETZ进口DR..5X先导式减压阀用于二次回路控制。它们的组成主要包括带主阀插件的主阀和带压力调节元件的先导阀
品牌:RETZ美国瑞茨
工况条件:减压
温度/压力:P-T: 350bar@60℃
更新时间:2022/12/10
(DR..5X)进口先导式减压阀 技术参数 Technical paramete
通径(NG)10至32, 压力至35MPa ,流量至400L/min Diameter (NG) 10 to 32, pressure to 35MPa, flow to 400L/min
特性 characteristic
用于底板安装 For baseplate installation
安装面符合DIN24340 D型和ISO 5781 Mounting surface in accordance with DIN24340 type D and ISO 5781
用于油路块安装 Used for installation of oil circuit block
用于螺纹连接 For threaded connection
4种调节形式 4 adjustment forms
5种压力范围 5 pressure ranges
旋钮 knob
带保护罩的调节螺栓 Adjusting bolt with protective cover
带刻度可锁旋钮 Lockable knob with scale
带刻度旋钮 Dial knob
可选择的单向阀 (仅用于底板安装)Optional check valve (only for base plate installation)
功能说明 Function description
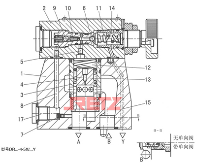
DR型压力阀是先导式减压阀,它们用于二次回路控制。它们的组成主要包括带主阀插件(3)的主阀(1)和带压力调节元件的先导阀(2) retz品牌 Type DR pressure valve is a pilot operated pressure reducing valve, which is used for secondary circuit control. They are mainly composed of a main valve (1) with a main valve plug-in (3) and a pilot valve (2) with a pressure regulating element
在静态位置时.该阀常开 油液可自由地从油口B经主阀芯(3)进入油口A。油口A的压力作用于主阀芯(3)的底侧。同时 压力作用于先导阀(2)中的球阀(6)上 经节流孔(4)作用于主阀芯(3)的弹簧加载则 并且经油口(5)。同样压力经节流孔(7)、控制油路(8)、单向阀(9)和节流孔(10)作用于球阀(6)上.根据弹簧(11)的设定.在球阀(6)前部、油口(5)中和弹簧腔(12)内建压.保持控制活塞(13)处于开启位置。油液可自由地从油口B经主阀芯(3)流入油口A. 直至油口A的压力超过弹簧(11)的设定值.并打开球阀(6)。控制活塞(13)移至关闭位置 In static position The normally open oil of the valve can enter the oil port A freely from the oil port B through the main valve element (3). The pressure at port A acts on the bottom side of the main spool (3). At the same time, the pressure acts on the ball valve (6) in the pilot valve (2), acts on the spring loaded main valve element (3) through the orifice (4), and passes through the oil port (5). The same pressure acts on the ball valve (6) through the orifice (7), control oil circuit (8), one-way valve (9) and orifice (10). Build pressure in the front of the ball valve (6), oil port (5) and spring chamber (12) according to the setting of spring (11) Keep the control piston (13) in the open position. The oil can flow freely from the oil port B to the oil port A through the main valve element (3) Until the pressure at port A exceeds the setting value of the spring (11), open the ball valve (6). The control piston (13) moves to the closed position
当油口A的压力与弹簧设定压力之间达到平衡时,获得期望的减压压力。控制油经控制油路(15)由外部从弹簧腔(14)泄回油箱 When the pressure at port A is balanced with the spring set pressure, the desired reduced pressure is obtained. The control oil is discharged from the spring chamber (14) to the oil tank from the outside through the control oil circuit (15).
通过安装可选的单向阀(16)可实现油液从油口A至B的自由返回流动 The optional check valve (16) allows free return flow of fluid from port A to port B
压力表接口(17)允许对油口A的减压压力进行监测 The pressure gauge interface (17) allows monitoring of the reduced pressure at port A
可实现远程调压。先导阀上带X外控口 It can realize remote voltage regulation. Pilot valve with X external control port
图形符号 Graphical symbols

技术参数 Technical parameter

性能曲线(在使用HLP46,t=40℃±5℃时测得)
与流量(B→A)和压差相关的控制油流量 Control oil flow related to flow (B → A) and differential pressure

经过单向阀(A→B)△P-Q 性能曲线 △ P-Q performance curve after one-way valve (A → B)
经单向阀的液阻,主阀关闭 The main valve is closed through the hydraulic resistance of the check valve
经单向阀的液阻,主阀全开 The main valve is fully opened through the hydraulic resistance of the check valve

出口压力Pa与流量关系(B→A)Relation between outlet pressure Pa and flow (B → A)

最小设定压力Pa min。与流量关系(B→A)Minimum set pressure Pa min. Relation with flow (B → A)

△P-Q性能曲线(B→ A)(最低设定压差)△ P-Q performance curve (B → A) (minimum set differential pressure)




在线客服