RETZ进口品质 DZ先导式顺序阀
简要描述:RETZ进口DZ压力阀是进口先导式顺序阀,它们用于次级回路压力相关顺序切换
品牌:RETZ美国瑞茨
工况条件:顺序切换
温度/压力:P-T: 315bar@60℃
更新时间:2022/12/10
(DZ)进口先导式顺序阀技术参数 Technical paramete
通径(NG)10至32, 压力至31.5MPa ,流量至600L/min Diameter (NG) 10 to 32, pressure to 31.5MPa, flow to 600L/min
特性 characteristic
用于底板安装 For baseplate installation
安装面符合DIN24340 D型和ISO 5781 Mounting surface in accordance with DIN24340 type D and ISO 5781
用于油路块安装 Used for installation of oil circuit block
4种调节形式 4 adjustment forms
4种压力范围 4 pressure ranges
旋钮 knob
带保护罩的调节螺栓 Adjusting bolt with protective cover
带刻度可锁旋钮 Lockable knob with scale
带刻度旋钮 Dial knob
可选择的单向阀 Optional check valve
功能说明 Function description
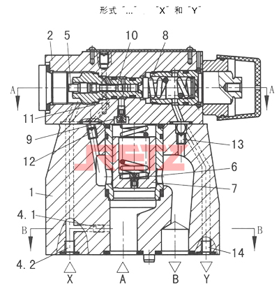
顺序阀的组成主要包括带主阀芯插件(7)的主阀(1)和带压力调节元件的先导阀(2)及可选的单向阀(3)The sequence
valve mainly consists of a main valve (1) with a main valve element plug-in (7), a pilot valve (2) with a pressure regulating element and an optional check valve (3)
该阀的功能取决于控制油泄油配置∶The function of this valve depends on the control oil drain configuration
DZ…-.5X…型压力阀(控制油路4.1、12和13打开∶控制油路4.2、14和15堵死)DZ... -. 5X... type pressure valve (control oil circuit 4.1, 12 and 13 open: control oil circuit 4.2, 14 and 15 blocked)
控制油路A的压力经控制油路(4.1)作用于先导阀(2)中的先导阀芯(5)上。同时 它经节流孔(6)作用于主阀(7)的弹簧加载侧。当该压力超过弹簧(8)的设定值时. 先导阀芯(5)克服弹簧(8)移动。主阀芯(7)弹簧加载侧的油液经节流口(9).控制台肩(10)和控制油路(11)及(12)流入油口B。使主阀芯(7)存在一个压降且上升。允许油液从V向B自由流动。弹簧(8)设定的压力保持不变.开启压力保持恒定。先导阀芯(5)的泄漏油经油路(13)由内部引入油口B。可以安装选择的单向阀(3)使从油口B至A自由回流 The pressure of control oil circuit A acts on the pilot spool (5) in the pilot valve (2) through the control oil circuit (4.1). At the same time, it acts on the spring loaded side of the main valve (7) through the orifice (6). When the pressure exceeds the set value of the spring (8) The pilot spool (5) moves against the spring (8). The oil on the spring loaded side of the main spool (7) flows through the orifice (9) The console shoulder (10) and control oil passages (11) and (12) flow into port B. Make the main valve element (7) have a pressure drop and rise. Allow fluid to flow freely from V to B. The pressure set by the spring (8)
remains unchanged The opening pressure remains constant. The leakage oil from the pilot valve element (5) is introduced into the oil port B from the inside through the oil passage (13). An optional check valve (3) can be installed to allow free return from port B to port A.
DZ…-.-5X/..X…型压力阀(控制油路4.1、12和13打开∶控制油路4.2、14和15堵死)DZ... -. - 5X/.. X... type pressure valve (control oil circuit 4.1, 12 and 13 open: control oil circuit 4.2, 14 and 15 blocked)
此阀的功能原则上与DZ…-5X/.型相同。但是 对于DZ…-.5X/…X…型顺序阀.该压力信号借助于控制油路(4.2)由外部提供 In principle, the function of this valve is the same as DZ... - 5X/ Same type. However, for DZ... -. 5X/... X... type sequence valve, the pressure signal is provided externally by means of the control oil circuit (4.2)
DZ...-.-5X/..Y..型顺序阀(控制油路4.1、12和14或15打开∶控制油路4.2和13堵死)DZ... -. - 5X/.. Y.. Sequence valve (control oil circuit 4.1, 12 and 14 or 15 open: control oil circuit 4.2 and 13 blocked)
此阀的功能原则上与DZ..-.5×/…X型相同。但是 对于DZ…-.5X/…Y…型顺序阀. 先导阀芯(5)的泄漏必须经油路(14)或(15)无背压排入油箱。控制油经油路(12)流入油口B In principle, the function of this valve is the same as DZ.. -. 5 ×/… The X type is the same. However, for DZ... -. 5X/... Y... type sequence valve, the leakage of pilot valve element (5) must be discharged into the oil tank through the oil circuit (14) or (15) without back pressure. The control oil flows into port B through passage (12).
DZ...-.5X/...XY..型旁通阀 (控制油路4.2、14或15打开∶控制油路4.1、12和13 堵死)DZ... -. 5X/... XY.. Bypass valve (control
oil circuit 4.2, 14 or 15 open: control oil circuit 4.1, 12 and 13 blocked)
油口X的压力经控制油路(4.2)作用于先导阀(2)中的控制活塞(5)上。同时.油口A的压力经节流孔(6)作用于主阀芯(7)的弹簧加载侧。当油口X的压力超过弹簧(8)的设定值时.控制活塞(5)克服弹簧(8)移动.油液可经过节流孔(9)和孔(16)从主阀芯(7)的弹簧加载侧流入弹簧腔(17).主阀芯(7)弹簧加载侧的压力值下降.使主阀芯(7)上升。因此 油液可以以最小的压力损失从油口A流入油口B。弹簧腔(17)中的控制油应该经油路(14)或(15)无压排入油箱。可以安装选择的单向阀(3)使从油口B至A自由回流 The pressure of port X acts on the control piston (5) in the pilot valve (2) through the control oil circuit (4.2). At the same time, the pressure of port A acts on the spring loaded side of the main valve element (7) through the orifice (6). When the pressure of oil port X exceeds the setting value of spring (8), the control piston (5) moves against the spring (8). The oil can flow into the spring chamber (17) from the spring loaded side of the main valve core (7) through the orifice (9) and the orifice (16). The pressure value on the spring loaded side of the main valve core (7) decreases, making the main valve core (7) rise. Therefore, the oil can flow from port A to port B with a minimum pressure loss. The control oil in the spring chamber (17) should be discharged into the oil tank through the oil passage (14) or (15) without pressure. An optional check valve (3) can be installed to allow free return from port B to port A
图形符号 Graphical symbols

技术参数 Technical parameter

性能曲线(在使用HLP46,t=40℃±5℃时测得)
进口压力与流量关系(A→B)Relation between inlet pressure and flow (A → B)

最小进口压力与流量关系(A→B)(=旁通压力型号”.....X....") Relation between minimum inlet pressure and flow (A → B) (=bypass pressure model "..... X....")
该曲线在整个流量范围内对出口压力PB=0有效 The curve is valid for outlet pressure PB=0 in the whole flow range

旁通压力与流量关系(A→B)(仅型号“...XY...”)Relationship between bypass pressure and flow (A → B) (only model "... XY...")
该曲线在整个流量范围内对出口压力PB=0有效 The curve is valid for outlet pressure PB=0 in the whole flow range

△P-Q曲线经过单向阀(B→A)△ P-Q curve passes through one-way valve (B → A)




在线客服