RETZ进口品质 RVP单向阀
简要描述:RETZ(RVP)进口单向阀的作用是使油液只能向一个方向流动,而另一个方向截止
品牌:RETZ美国瑞茨
工况条件:单向、逆止
温度/压力:P-T: 350bar@60℃
更新时间:2022/12/14
RVP...2X系列单向阀 技术参数 Technical paramete
通径(NG)6至40, 压力至35MPa ,流量至600L/min Diameter (NG) 6 to 40, pressure to 35MPa, flow to 600L/min
图形符号 Graphical symbols

(RVP)进口单向阀特性 characteristic
锥形座阀 Conical seat valve
管式安装、板式安装 Pipe installation, plate installation
多档开启压力 Multi gear opening pressure
功能说明 Function description
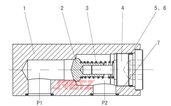
RVP型单向阀的作用是使油液只能向一个方向流动,而另一个方向截止。当油液从P1腔进入,油液克服弹簧(3)的弹簧力使锥阀芯(2)右移,从而使P1、P2腔沟通。当油液从P2向P1流动时,锥阀芯(2)左移.单向阀关闭 retz品牌 The function of RVP check valve is to make the oil flow in one direction only and stop in the other direction. When the oil enters from the P1 chamber, the oil overcomes the spring force of the spring (3) to move the cone valve element (2) to the right, so that P1 and P2 chambers communicate. When the oil flows from P2 to P1, the cone valve element (2) moves to the left and the check valve is closed.

1 阀体 2锥阀芯 3弹簧 4弹簧座 5 O形圈 6挡圈 7 O形圈
1 Valve body 2 Taper valve element 3 Spring 4 Spring seat 5 O-ring 6 Retaining ring 7 O-ring
技术参数 Technical parameter

性能曲线(在使用HLP46,t=40℃±5℃时测得)Performance curve (measured when HLP46 is used, t=40 ℃± 5 ℃)
流向:P1到P2 Flow direction: P1 to P2
压降△P取决于流量Q Pressure drop △ P depends on flow Q
工作曲线(在v=38mm²/s,t=43℃时测得)(开启压力:0.05MPa)Working curve (at v=38mm ²/ s. T=43 ℃) (opening pressure: 0.05MPa)
RVP6...至RVP16...

RVP20...至RVP40...




在线客服