RETZ进口品质 低压损止回阀
简要描述:RETZ进口缓开、缓闭或快闭低损止回阀具有缓开、缓闭(快闭)消除水锤、止回功能,可以取代止回阀、电动阀和水锤吸纳器。一般安装在水泵出口处
品牌:RETZ美国瑞茨
工况条件:缓开 闭或快闭
温度/压力:P-T: 25bar@100℃
更新时间:2023/04/18
进口快开、缓开、缓闭低损止回阀产品描述 Product Description
快开(缓开)缓闭低损止回阀依靠导阀的作用,在水泵开启时缓慢开启。在运行过程中,因介质压力作用,阀门全开,控制腔与大气接通,接近零水损;在水泵停止时,缓慢关闭(快闭),防止水锤噪音等并止回。
The fast opening (slow opening) and slow closing low loss check valve relies on the action of the pilot valve to slowly open when the water pump is started. During operation, due to the pressure of the medium, the valve is fully open and the control chamber is connected to the atmosphere, approaching zero water loss; When the water pump stops, slowly close (quickly close) to prevent water hammer noise and check it.
缓开缓闭型:水泵停止运动时,主阀分两级关闭,主阀瓣先快闭90%,小阀瓣再缓慢关闭(关闭速度可根据现场工况进行调节),消除水锤和噪音 Slow opening and slow closing type: When the water pump stops moving, the main valve is closed in two stages. The main valve disc is quickly closed by 90% first, and the small valve disc is slowly closed (the closing speed can be adjusted according to on-site conditions) to eliminate water hammer and noise
缓闭快闭型:水泵停止运行时,主阀在0.5秒之内快速关闭,消除水锤和噪音 Slow closing and fast closing type: When the water pump stops running, the main valve quickly closes within 0.5 seconds to eliminate water hammer and noise
压力等级:PN10-PN25
隔膜式:DN50~DN300
产品特点 Product Features
1.实现水泵闭阀启动功能:即在泵启动时,阀门处于关闭状态,当压力上升到设定值时,阀门缓慢开启,避免水泵空载启动产生过大电流冲击损坏电机To realize the starting function of the pump closed valve: that is, when the pump starts, the valve is in the closed state, when the pressure rises to the set value, the valve is slowly open, to avoid the pump empty load start caused by excessive current impact damage of the motor.
2.阻力损失小,接近零水损:控制动作压力小于0.05Mpa,局部阻力系数小于1.0 Low resistance loss, close to zero water loss: the control action pressure is less than 0.05Mpa, and the local resistance coefficient is less than 1.0
全开状态 Fully open state
当水泵启动后,阀门进水口压力上升,压力水一方面推动主阀板开启,另一方面通过导管系统进入膜片(活塞)下腔,而膜片(活塞)上腔的水通过导管系统泄入压力低的阀门出水口,而阀门在二合力的作用下缓慢开启。
After the water pump starts, the pressure at the valve inlet rises. On the one hand, the pressure water pushes the main valve plate open, and on the other hand, it enters the lower chamber of the diaphragm (piston) through the conduit system. The water in the upper chamber of the diaphragm (piston) is discharged into the outlet of the low pressure valve through the conduit system, and the valve slowly opens under the combined force of the two forces
全闭状态 Fully closed state
当水泵停机后,阀门中的水流速度降低,在接于近零时,主阀板在弹簧力和自身重力作用下快速关闭,而阀后的压力水通过导管系统返回膜片(活塞)上腔,并推动固定阀杆上的小阀板缓慢关闭。
After the water pump stops, the water flow velocity in the valve decreases. When it is close to zero, the main valve plate quickly closes under the action of spring force and self gravity, while the pressure water behind the valve returns to the upper chamber of the diaphragm (piston) through the conduit system and pushes the small valve plate on the fixed valve rod to slowly close.
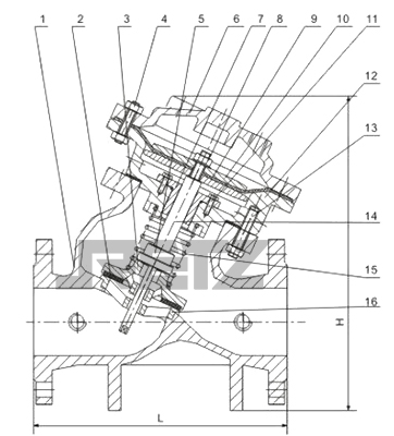
主要零件材质 Structure and main component materials

序NO. | 零件名称Name | 主要材质Main Material |
1 | 阀体Valve Body | 铸铁、铸钢、不锈钢Cast lron, Cast steel,Stainless steel |
2 | 密封圈Sealing Ring | 丁晴橡胶Nitrite-butadiene Rubber(NBR) |
3 | 阀板Valve board | 球铁、铸钢Spheroidal Graphite Cast lron, Cast steel |
4 | 螺柱、螺母Plug,nut | 碳素钢Carbon steel |
5 | 小阀板Small Valve board | 铸钢、不锈钢Cast steel,Stainless Steel |
6 | 阀盖Bonnet | 铸铁、铸钢、不锈钢Cast lron, Cast steel,Stainless steel |
7 | 导向套Guide sleeve | 球铁、黄铜Spheroidal Graphite cast lron,Brass |
8 | 阀杆螺母Valve Stem nut | 碳素钢Carbon steel |
9 | 膜片Diaphragm | 丁晴橡胶Nitrite-butadiene Rubber (NBR) |
10 | 膜片压板Diaphragm Pressure Plate | 球铁、碳素钢Spheroidal Graphite Cast lron, Carbon steel |
11 | 导向套螺钉Screw to guide sleeve | 碳素钢Carbon steel |
12 | 膜片座Diaphragm seat | 铸铁、铸钢、不锈钢Cast Iron, cast steel, Stainless steel |
13 | 螺栓Bolt | 碳素钢Carbon steel |
14 | 阀杆Valve Stem | 不锈钢Stainless steel |
15 | 压缩弹簧Compression Spring | 不锈钢Stainless steel |
16 | 阀座Valve seat | 碳素钢、不锈钢Carbon steel, Stainless steel |
安装示意图 installation diagram




在线客服