RETZ进口品质 压低损快闭止回阀
简要描述:RETZ进进口压低损快闭止回阀安装在取水、送水、加压、潜水、污水等水泵的出水管道上,起到止回和快闭的作用
品牌:RETZ美国瑞茨
工况条件:快闭止回
温度/压力:P-T: 25bar@100℃
更新时间:2023/04/18
产品描述 Product Description
进口压低损快闭止回阀性能是起到止回和快闭的作用,无水倒流,水头损失小,防止水锤的产生,有效地提高供水安全可靠性。同时本阀还设有流量调节装置,随时可以控制阀门的流量,必要时也可以手动关闭。
The performance of the Y-type quick closing check valve is to serve as a check and quick closing function, with no water backflow, small head loss, and the prevention of water hammer, effectively improving the safety and reliability of water supply. At the same time, this valve is also equipped with a flow regulating device, which can control the flow of the valve at any time and can be manually closed if necessary
压力等级:PN10-PN25
隔 膜 式:DN50~DN300
产品特点 Product Features
1.消除水锤、噪音:启闭与主阀瓣连锁动作,自动实现速闭,不受水泵流量、扬程波动影响。防水倒流,使停泵后的水锤压力减弱到最低极限 Eliminating water hammer and noise: The opening and closing are interlocked with the main valve disc, automatically achieving quick closure, unaffected by fluctuations in water pump flow and head. Waterproof backflow, reducing the water hammer pressure after stopping the pump to the minimum limit
2.节能效果显著:采用流线宽阀体、直流式设计,利用介质压力驱动无需外接动力,与进口同类产品相比,阻力损失降低50%以上 Significant energy-saving effect: adopting a streamlined wide valve body and direct current design, utilizing medium pressure to drive without external power, reducing resistance loss by more than 50% compared to imported similar products
全开状态 Fully open state
当水泵启动后,阀门进水口压力上升,压力水一方面推动主阀板开启,另一方面通过导管系统进入膜片(活塞)下腔,而膜片(活塞)上腔的水通过导管系统泄入压力低的阀门出水口,而阀门在二合力的作用下缓慢开启。
After the water pump starts, the pressure at the valve inlet rises. On the one hand, the pressure water pushes the main valve plate open, and on the other hand, it enters the lower chamber of the diaphragm (piston) through the conduit system. The water in the upper chamber of the diaphragm (piston) is discharged into the outlet of the low pressure valve through the conduit system, and the valve slowly opens under the combined force of the two forces
全闭状态 Fully closed state
当水泵停机后,阀门中的水流速度降低,在接于近零时,主阀板在弹簧力和自身重力作用下快速关闭,而阀后的压力水通过导管系统返回膜片(活塞)上腔,并推动固定阀杆上的小阀板缓慢关闭。
After the water pump stops, the water flow velocity in the valve decreases. When it is close to zero, the main valve plate quickly closes under the action of spring force and self gravity, while the pressure water behind the valve returns to the upper chamber of the diaphragm (piston) through the conduit system and pushes the small valve plate on the fixed valve rod to slowly close.
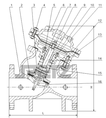
主要零件材质 Structure and main component materials

序NO. | 零件名称Name | 主要材质Main Material |
1 | 阀体Valve Body | 铸铁、铸钢、不锈钢Cast lron, Cast steel,Stainless steel |
2 | 密封圈Sealing Ring | 丁晴橡胶Nitrite-butadiene Rubber(NBR) |
3 | 阀板Valve board | 球铁、铸钢Spheroidal Graphite Cast lron, Cast steel |
4 | 螺柱、螺母Plug,nut | 碳素钢Carbon steel |
5 | 小阀板Small Valve board | 铸钢、不锈钢Cast steel,Stainless Steel |
6 | 阀盖Bonnet | 铸铁、铸钢、不锈钢Cast lron, Cast steel,Stainless steel |
7 | 导向套Guide sleeve | 球铁、黄铜Spheroidal Graphite cast lron,Brass |
8 | 阀杆螺母Valve Stem nut | 碳素钢Carbon steel |
9 | 膜片Diaphragm | 丁晴橡胶Nitrite-butadiene Rubber (NBR) |
10 | 膜片压板Diaphragm Pressure Plate | 球铁、碳素钢Spheroidal Graphite Cast lron, Carbon steel |
11 | 导向套螺钉Screw to guide sleeve | 碳素钢Carbon steel |
12 | 膜片座Diaphragm seat | 铸铁、铸钢、不锈钢Cast Iron, cast steel, Stainless steel |
13 | 螺栓Bolt | 碳素钢Carbon steel |
14 | 阀杆Valve Stem | 不锈钢Stainless steel |
15 | 压缩弹簧Compression Spring | 不锈钢Stainless steel |
16 | 阀座Valve seat | 碳素钢、不锈钢Carbon steel, Stainless steel |
安装示意图 installation diagram




在线客服